Sony's Innovative New Feature for PlayStation Consoles
Sony is working on an intriguing new feature for its PlayStation consoles that could revolutionize the gaming experience. This feature aims to dynamically adjust game difficulty in real-time, providing players with a seamless and enjoyable gaming experience tailored to their skills and weaknesses.
The Evolution of Game Difficulty
Sony is pioneering an innovative new feature for its PlayStation consoles that has the potential to redefine the gaming experience. The feature aims to dynamically adjust game difficulty in real-time, ensuring that players are constantly engaged and challenged at a level that suits their skills. This exciting development could mark a new era in how single-player games are enjoyed, offering a seamless and personalized experience for gamers of all kinds.
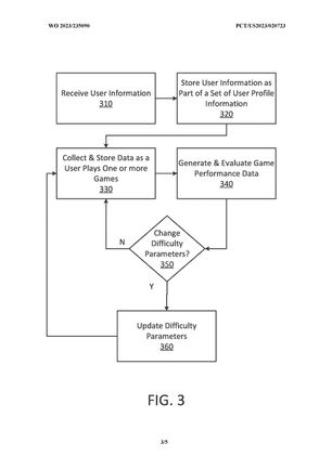
a drawing that explains sony's patented difficult adjustment feature
This adaptive difficulty feature has already been observed in games like MLB The Show, where the game responds to the player's performance by automatically adjusting its difficulty setting. This not only prevents frustration from overly challenging gameplay but also combats boredom from gameplay that is too easy. Sony seems to be captivated by this concept and is exploring ways to implement a more advanced and robust system that takes personal player skills into account.
According to reports from Insider Gaming, Sony has recently unveiled a patent detailing this groundbreaking difficulty-adjustment mechanic. The patent reveals the introduction of algorithms that finely tune difficulty settings to each specific player, measuring their coping mechanisms with different game mechanics and challenges. For example, if a player struggles with reaction time but excels in other aspects, the feature will only adjust the game elements that alleviate slower reaction times while leaving other aspects unaffected.
A Seamless Gaming Experience
The patent further emphasizes the need for a seamless gaming experience, addressing the common issue of extreme disparities between difficulty levels in games. By implementing this innovative feature, Sony aims to create a gaming environment where players can enjoy a diverse range of games without the need to manually adjust difficulty settings. The feature is designed to finely tune the gameplay to each player's unique skills and weaknesses, providing a tailored and engaging experience for all users.
Furthermore, this revolutionary feature may have a significant impact on the gaming landscape, potentially altering the perception of famously difficult games like Dark Souls. While the feature is likely to be optional, it offers players the opportunity to experience challenging games in a more accessible manner, removing barriers that may have previously deterred certain players from engaging with these titles.
Innovative Patents and Future Possibilities
This groundbreaking news adds to a series of intriguing patents recently published by Sony, further cementing the company's commitment to enhancing the gaming experience. One such patent, known as Sony's story replay patent, introduces a feature that allows users to log pivotal story moments within a game and seamlessly replay these trigger points at any time. This innovative functionality also enables players to revisit in-game choices, creating the potential for entirely new storylines and experiences.
The combination of these groundbreaking features demonstrates Sony's dedication to innovation and user-centric design. As the gaming industry continues to evolve, these patents offer a glimpse into the future possibilities of gaming experiences, showcasing the potential for personalized and immersive gameplay on PlayStation consoles.

                            
                            
                            
                            
                            






            