The PlayStation 5 Pro Rumors: A Deeper Look into the Leaks and Patents
The rumored PlayStation 5 Pro has been the subject of much discourse in recent weeks, and a new patent filed by Sony fits in with the recent hardware leaks. Sony patents are regularly scrutinized for clues about upcoming hardware, but many of them are software related. Let's take a closer look at the recent leaks and patents to understand the potential developments for the PlayStation 5 Pro.
The Significance of Recent Sony Patents
The gaming community has been abuzz with the latest rumors and leaks surrounding the much-anticipated PlayStation 5 Pro. These rumors have been further fueled by a new patent filed by Sony, which aligns with the recent hardware leaks and has sparked widespread discussion among enthusiasts.
Sony PS5 Pro Upscaling Patent
Sony patents are known to be a source of speculation when it comes to uncovering hints about upcoming hardware. While many patents have been related to software, the latest patent has captured attention due to its potential implications for the hardware features of the PlayStation 5 Pro.
One notable example is a recent Sony patent that outlines a technology designed to dynamically adapt game difficulty to suit individual players. While dynamic difficulty adjustment already exists in various games, the patent aims to finely tune parameters to ensure a challenging yet enjoyable gaming experience based on individual performance. This demonstrates Sony's commitment to enhancing the gaming experience through innovative hardware and software solutions.
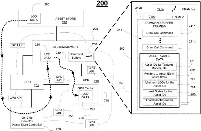
Sony Patent and PlayStation 5 Pro Hardware Details
The recent Sony patent appears to lend support to the leaked details about the rumored PlayStation 5 Pro hardware. One of the key features described for the speculated console is a proprietary hardware-driven upscaling technology similar to Nvidia's DLSS, which utilizes machine learning to significantly enhance visuals and performance compared to the original PS5.
The newly filed Sony patent outlines a method for executing a game by writing Asset Aware Data (AAD) to a command buffer and Level Of Detail (LOD) data to the system memory. This data is then utilized by the GPU to draw video frames as requested by the CPU, indicating a sophisticated approach to enhancing gaming graphics and performance.
According to the patent, the GPU will utilize at least a minimum of LOD data based on the AAD, hinting at a potential upscaling technology. Notably, the patent is credited to Mark Cerny, the lead system architect for the PS4 and PS5, further adding credibility to its relevance to the PlayStation 5 Pro rumors that emphasize an updated AMD architecture focused on AI.
The mention of 'Asset Aware Data' in the new Sony patent raises intriguing parallels with machine learning programs, aligning with the AI-focused advancements rumored for the PS5 Pro. While historic rumors and the new leaks seem to converge, it is important to approach them with caution and await official confirmation from Sony.
Analyzing the Convergence of Rumors and Leaks
The PlayStation 5 Pro rumors have reached a fever pitch, with supposed leaks gaining credibility and fostering anticipation among fans. However, it is crucial to approach these rumors with a degree of skepticism until Sony provides official confirmation or denial of the speculated mid-generation PlayStation 5 refresh.
While the alignment of the recent Sony patent with the rumored hardware details adds weight to the leaks, it is essential to exercise caution. The convergence of historic rumors with the new leaks and patents suggests a potential trajectory for the PlayStation 5 Pro, but it is imperative to refrain from treating them as definitive until validated by Sony.
If the leaks are accurate, the prospect of a PlayStation 5 Pro release in late 2024 becomes more plausible. However, it is paramount to reiterate that the rumors and leaks, however convincing they may seem, should not be embraced as factual without official confirmation from Sony.








