Sony's Secret Handheld Project: Years in the Making
Sony's Project Q handheld has been in development for eight years, with documents resurfacing to remind gamers of its ongoing progress The highly anticipated PlayStation device is set to revolutionize portable gaming, promising an immersive experience for players on the go
Sony had been considering the development of a handheld device similar to the recently revealed PlayStation Project Q as early as 2015, according to recently surfaced documents. During Sony's 2023 PlayStation Showcase on May 24, it was confirmed that the company had indeed been working on a PlayStation handheld device, although it was not quite what many had anticipated. The device, internally known as Project Q, will not function as a standalone console but rather as a streaming platform for PS5 games via Remote Play over wi-fi. Despite industry insider Tom Henderson's claim that the PlayStation handheld will only have a battery life of 3-4 hours, Sony has confirmed that Project Q will feature an 8-inch HD LCD screen with support for resolutions up to 1080p, surpassing that of Valve's Steam Deck.
Some social media users have expressed their disappointment with the design and features of PlayStation's Project Q, claiming that it was hastily put together to capitalise on the growing market for portable gaming. Interestingly, Sony had already filed a patent in 2015 for a device that bears a striking resemblance to Project Q. While the revolutionary PlayStation DualSense controller wasn't introduced until five years later, the 2015 device appears to share many similarities with the version that was eventually unveiled at the PlayStation Showcase.
Close
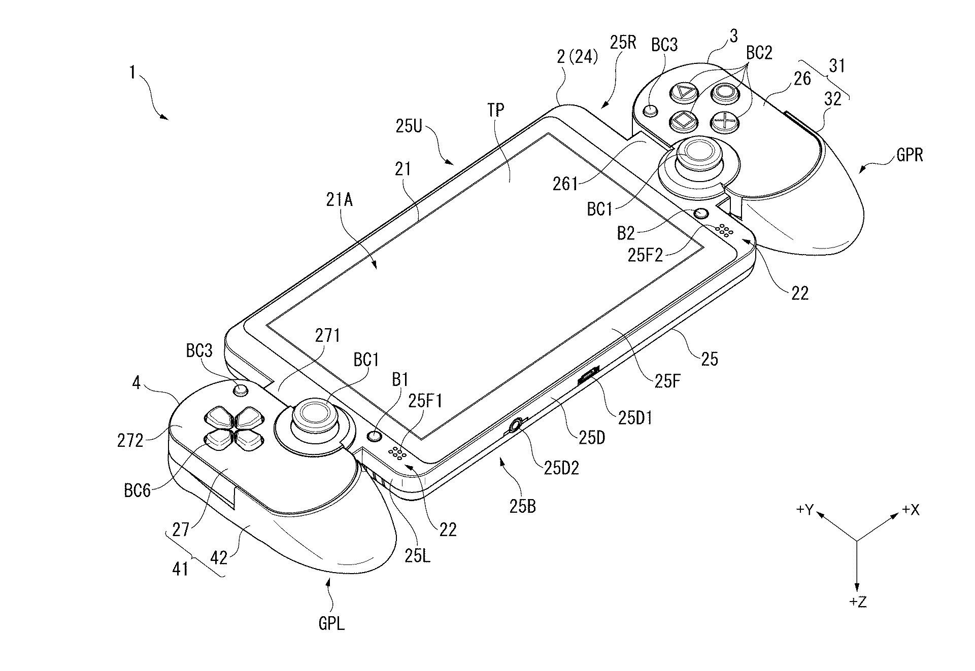
Sony appears to have been experimenting with various designs for a handheld gaming device, as evidenced by a patent filed in 2021. This latest patent bears a striking resemblance to Project Q and features DualShock 4 controller handles on either side of the screen, giving it a more finalized look. Additionally, the patent mentions the inclusion of a motion sensor that can detect the device's tilting direction, similar to the technology found in DualShock 4 and DualSense controllers. This development coincides with Sony's recent expansion into mobile gaming and cloud gaming, as the company continues to push aggressively into these spaces. The upcoming release of the Project Q PlayStation handheld device aligns with the growing trend of portable gaming systems, including the Steam Deck, Logitech G Cloud, and the upcoming Asus ROG Ally.
It is unlikely that Sony will be able to make significant changes to the functionality of Project Q after its official announcement, despite some people hoping for tweaks. However, this could mark the start of a new era for PlayStation handhelds, with the hope that there won't be such a long wait for the next device as there was with the PlayStation Vita.










