Sony's Innovation in Gaming with 'Super-Fungible Tokens'
Discover how Sony is at the forefront of gaming innovation with their development of 'super-fungible tokens' that have the potential to revolutionize gaming experiences. These tokens, as unveiled in a recent patent, show promise in being versatile across multiple games and capable of seamless transferability.
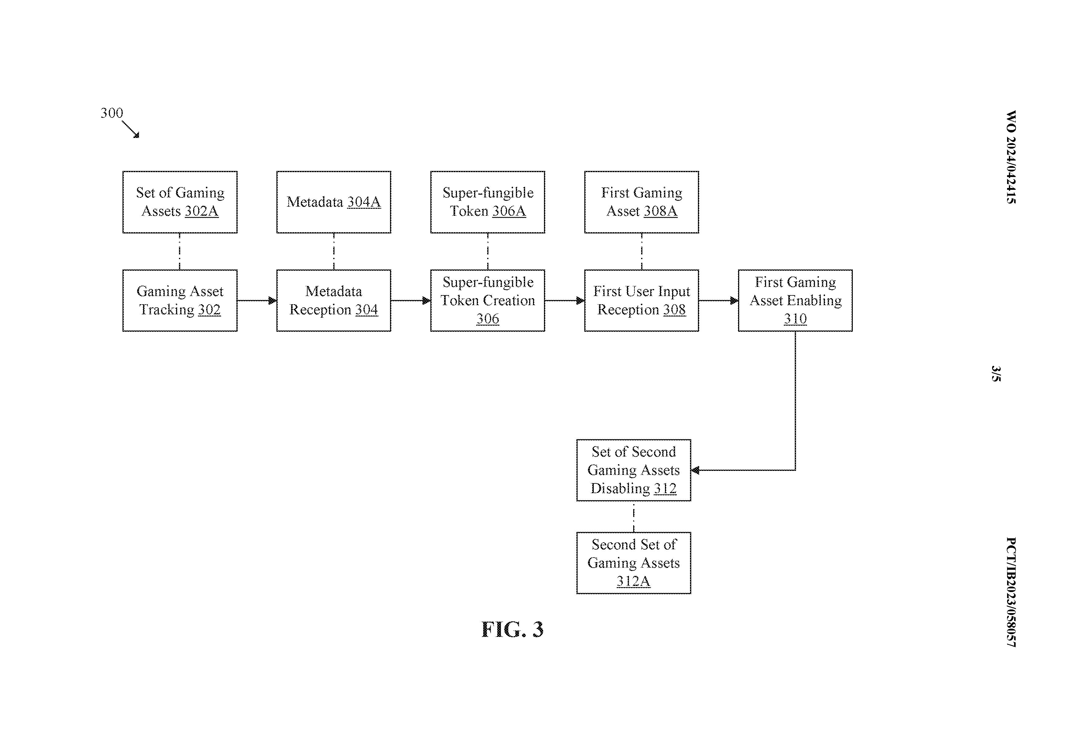
Sony is reportedly working on developing "super-fungible tokens" for purchasing game assets, as per a recent patent. While non-fungible tokens (NFTs) have received mixed feedback since their introduction, Sony's idea may be more appealing to gamers.
The gaming industry is always evolving, with patents playing a crucial role in driving innovations. Sony, a major player in the video game industry, consistently makes advancements through its patents. Some recent patents from Sony include features like the ability for players to make voice and video calls in-game, an age restriction system for locking PlayStation accounts, and a feature that adjusts game difficulty based on a player's skill level. Gifting in-game items has become a popular trend on current-gen consoles, with games like Fortnite, Rocket League, and Minecraft offering this option. Platforms like Steam also allow gamers to gift games to their friends, potentially expanding the audience for these games. Sony's potential development of super-fungible tokens could bring a similar gifting experience to the gaming community.
Sony's 'Super-Fungible' Token Explanation
According to a recent patent by Sony, the company is developing a new type of token that allows players to purchase and exchange it. This token, known as a super-fungible token, is made up of multiple non-fungible tokens bundled together. These NFTs contain various gaming assets that can be used across different games, such as athletic, sports, and fighting games. Popular franchises like Madden NFL or Street Fighter could potentially benefit from this innovative concept. Currently, players have limited options when it comes to exchanging currency on gaming platforms. Sony's super-fungible token could provide a solution by allowing players to gift a token that comes with specific gaming assets.
sony-sft-body-image - How Does Sony's 'Super-Fungible' Token Work?
The Sony super-fungible token utilizes metadata to identify gaming assets associated with it based on a player's actions. These assets could include skins, in-game items, weapons, or abilities. Apart from the possibility of trading items with other players using this token, the patent also mentions the ability for a player to access individual NFTs within a single token. This suggests the potential for players to transfer items between different games, a concept that has been explored by companies like Ubisoft. For this to work, the games must support the use of these super-fungible tokens, referred to as "gaming applications" in the patent.
sony-working-on-new-haptic-feedback-system-for-hearing-imparied-players-game-rant-2 - While most gamers currently use fungible digital currency on storefronts like the PlayStation Store and Steam, this super-fungible token could provide an alternative way to exchange things with friends
Many gamers now use regular digital currency on platforms such as the PlayStation Store and Steam. However, this new super-fungible token offers a different option for trading items with friends. Some players have shown interest in using a single NFT across various games, and this patent from Sony explores the possibility of having multiple NFTs to support this concept.
Editor's P/S:
Sony's development of super-fungible tokens has the potential to revolutionize the way gamers purchase and exchange in-game assets. By bundling multiple NFTs together, gamers could gain access to a wider range of items and abilities across different games. This would not only enhance the gaming experience but also create a more robust and interconnected gaming ecosystem.
However, the success of super-fungible tokens will hinge on the willingness of game developers to adopt this technology. If major game publishers embrace this concept, it could lead to a new era of cross-game compatibility and item trading. Additionally, the implementation of these tokens should be designed to prevent abuse and ensure fair play, ensuring that gamers have a positive and equitable experience.









